所謂雙色注塑成型,是指將兩種不同色澤的塑料注入同一模具的成型方法。它能使塑料制品出現兩種不同的顏色,并能使塑件呈現有規則的圖案或無規則的云紋狀花色,以提高塑件的實用性和美觀性。 (1)雙混色注塑成型
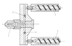
圖所示為雙混色注塑成型原理。它有兩個料筒,每個料筒的結構和使用均與普通注塑成型料筒相同。每個料筒都有各自的通道與噴嘴相通,在噴嘴通路中還裝有啟閉閥2,4。塑料加工成型時,熔料在料筒中被塑化好后,由啟閉閥2、4控制熔料進入噴嘴的先后順序和排出料的比例,然后由噴嘴處注射入模腔。便可得到各種混色效果不同的塑料制品。
